Art. no. 24007600
Who really likes cleaning? Our invention, QuickClean, rapidly removes dirt and limescale deposits from mixers and showers. Flexible silicon nubs make sure of this. Beware of copies: this QuickClean logo is the only guarantee of genuine Hansgrohe quality.Learn more
You really need to experience this: great showering pleasure with jet types that has a feel-good factor. hansgrohe's hand and overhead showers, with a diameter of between 100 and 600 mm, envelop you in a real water dream – and ensure XXLPerformance in your bathroom.Learn more
Offering our customers the highest quality at all times is a fundamental part of the Hansgrohe company philosophy.
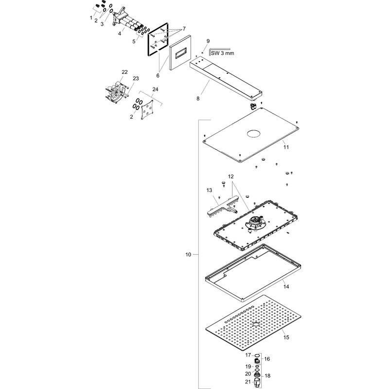
Planning data
| Item no. | DescriptionArticle no. |
|---|
| 1 | filter98513000 |
| 2 | O-ring 16x298133000 |
| 3 | O-ring 18x298181000 |
| 4 | O-ring 12x298214000 |
| 5 | escutcheon 155 / 155 mm92700000 |
| 6 | set of screws96525000 |
| 7 | shower arm92701000 |
| 8 | hollow set screw M5x892851000 |
| 9 | head shower92681600 |
| 10 | cover93393000 |
| 11 | cartridge, assy93389000 |
| 12 | spray insert92923000 |
| 13 | frame93391000 |
| 14 | spray body92704610 |
| 15 | filter92683000 |
| 16 | O-ring 24x298388000 |
| 17 | aerator laminar92684610 |
| 18 | O-ring 15x298163000 |
| 19 | O-ring 21x298205000 |
| 20 | special tool92686000 |
| 21 | extension 25 mm13595000 |
| 22 | set of fixing screws97747000 |
| 23 | compensation set 1°95521000 |
We endeavour to always provide up-to-date, complete information on our website.
However, we do not assume any liability for the up-to-dateness, accuracy, completeness or suitability of the information for particular uses.
This feature is not available due to your personal cookie settings. First, change your cookie settings to use the feature.
I accept all cookies